VUNESP 2020
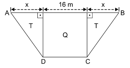
Um pátio escolar, com a forma de um trapézio ABCD, foi dividido em uma região quadrada Q e duas regiões triangulares congruentes T, conforme mostra a figura, com dimensões indicadas em metros.
Se as duas regiões triangulares T têm, juntas, área de 192 m2, então o perímetro do pátio ABCD é igual a
(A) 108 m.
(B) 96 m.
(C) 88 m.
(D) 80 m.
(E) 76 m.
